Vladimir Poutine



Si les AirPods Pro 3 sont sortis récemment, ce n’est pas pour autant qu’Apple se repose sur ses lauriers, bien entendu. Et l’un des derniers brevets déposés par Apple le montre bien, comme le rapporte AppleInsider.

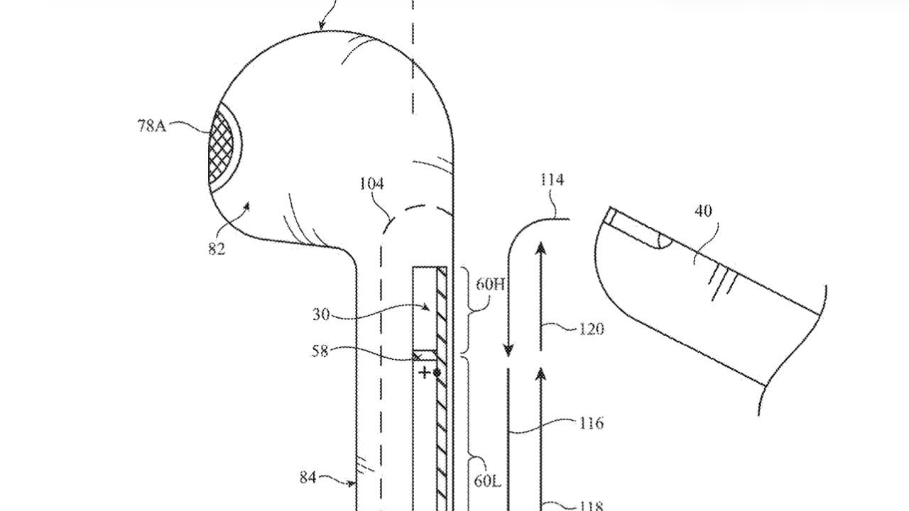
La volonté d’Apple est simple en apparence : rendre les AirPods toujours plus fin, et pour ça, avoir le moins de pièces possibles dedans. L’une des pièces les plus grandes une fois enlevé le haut-parleur et la batterie, c’est la surface capacitive qui détecte le doigt de l’utilisateur.
Et dans ce brevet Cupertino est bien décidée à l’enlever : pour ce faire ressort une technologie ancestrale utilisée dans un instrument étrange, le Thérémine. Le principe de fonctionnement veut que tout objet s’approchant d’une antenne perturbe le signal, et par la même est détectable. Rien n’empêche, avec les technologies modernes, de quantifier le mouvement de cet objet (et donc le doigt de l’utilisateur), que ce soit en vitesse ou en direction grâce à deux ou plus antennes.
Une fois récupérées et traitées ces informations, il est donc possible de détecter la présence du doigt sur la tige de l’écouteur et son mouvement, de la même manière que le ferait la surface capacitive actuelle. On élimine cette pièce, tout en gardant voire améliorant la fonction.
En plus de l’allègement de l’appareil, de l’amélioration de sa finesse et de l’élimination d’une pièce et donc d’un coût, un bonus non négligeable apparaît : les antennes émettant à fréquence plus rapprochée un signal par rapport aux surfaces capacitives, la détection du mouvement du doigt est plus rapide, quasi instantanée, là où actuellement une petite latence peut parfois être perçue quand on effectue un mouvement sur la tige des écouteurs.
Test des AirPods Pro 3 : un vrai coup de cœur
Rien n’indique bien entendu que cette idée sortira en production, Apple n’utilisant pas tous les brevets déposés dans ses appareils finaux. Cependant, l’idée permettant à la fois d’économiser des pièces, d’affiner l’appareil et d’améliorer le confort, il est bien possible qu’elle arrive un jour ou l’autre sur la tige de nos AirPods.
La dernière aventure - Le making-of de Stranger Things 5 (12 janvier) : Découvrez les années d'effort et de créativité qui se cachent derrière le dernier volet de la série phénomène des frères Duffer qui a marqué toute une génération. L’occasion de leur…
Article original publié sur AlloCiné
Plus de vingt ans après 28 jours plus tard, la saga revient avec une nouvelle trilogie au rythme accéléré. 28 ans plus tard est sorti en France le 18 juin 20…
Article original publié sur AlloCiné






© MANDEL NGAN/AFP

© MANDEL NGAN/AFP
Red and amber weather warnings have been issued across the UK as Storm Goretti evolves into a ‘weather bomb’
Birmingham airport suspended its runway operations on Thursday evening due to heavy snow.
It posted on X a short while ago that its teams were now “completing final snow clearance and safety checks on the airfield”.
Runway operations are still suspended at this time however passenger security processing has commenced … Passengers due to travel should contact their airline regarding the status of flights.
Continue reading...
© Photograph: Jeff J Mitchell/Getty Images

© Photograph: Jeff J Mitchell/Getty Images

© Photograph: Jeff J Mitchell/Getty Images
Opposition leader María Corina Machado hails move to tackle ‘injustice’ as Spain’s foreign ministry confirms release of five Spanish nationals
Five days after the US seized Nicolás Maduro, Venezuela has announced it is releasing an “important number” of detainees in what the congressional president characterised as a gesture to “consolidate peace”.
Former opposition candidate Enrique Márquez was among those released from prison, according to an opposition statement. “It’s all over now,” Márquez said in a video taken by a local journalist who accompanied him and his wife, as well as another opposition member Biagio Pilieri, who was also released.
Continue reading...
© Photograph: Gaby Oráa/Reuters

© Photograph: Gaby Oráa/Reuters

© Photograph: Gaby Oráa/Reuters